Scoop Porsche
C’est ici que vous retrouverez tous les scoops, rumeurs, news en rapport avec la marque Porsche.
14 avril 2026Porsche 992 GT3 S/C : la première GT3 Cabriolet de la marque
30 mars 2026Porsche mise sur l’hydrogène pour faire évoluer le moteur thermique
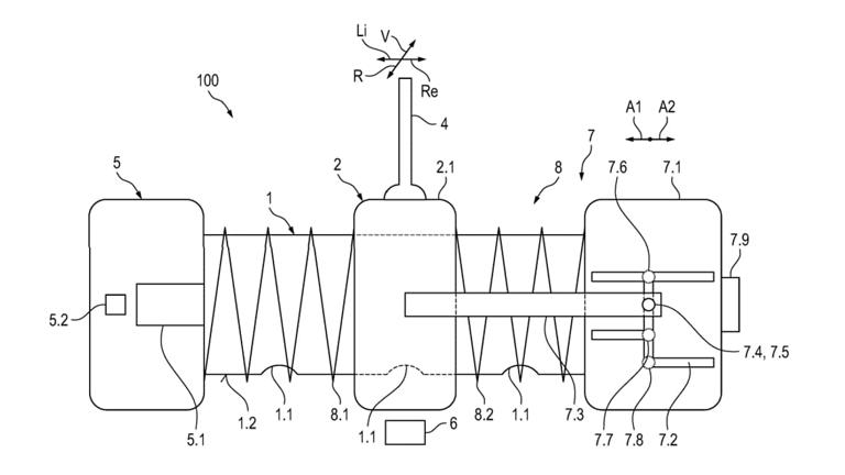
27 mars 2026Porsche veut sauver la boîte manuelle avec un brevet hors du commun
17 mars 2026Les nouveaux Cayenne E-Hybrid et Cayenne Turbo GT Electric aperçus dans la neige.
10 mars 2026Porsche dévoile le nouveau Cayenne S Electric
6 mars 2026Porsche 911 Dakar : la prochaine génération bientôt hybride ?
16 février 2026Porsche 992.2 GT3 RS, Cayman et Boxster : quelles motorisations à venir ?
12 février 2026Les 4 Porsche de Magnus Walker à ne pas manquer lors de la vente aux enchères RM Sotheby’s
11 février 2026Porsche Service Centre Hainaut : la première étape d’une nouvelle aventure belge
